//栏目页描述

服务热线400-027-1996

铅酸蓄电池由于其制造成本低,容量大,价格低廉而得到了广泛的使用。但是,若使用不当,其寿命将大大缩短。影响铅酸蓄电池寿命的因素很多,而采用正确的充电方式,能有效延长蓄电池的使用寿命。研究发现:电池充电过程对电池寿命影响最大,放电过程的影响较少。也就是说,绝大多数的蓄电池不是用坏的,而是“充坏”的。由此可见,一个好的充电仪器对蓄电池的使用寿命具有举足轻重的作用。
常规充电制度是依据1940年前国际公认的经验法则设计的。其中最著名的就是“安培小时规则”:充电电流安培数,不应超过蓄电池待充电的安时数。实际上,常规充电的速度被蓄电池在充电过程中的温升和气体的产生所限制。这个现象对蓄电池充电所必须的最短时间具有重要意义。一般来说,常规充电有以下3种。
恒流充电法是用调整充电装置输出电压或改变与蓄电池串联电阻的方法,保持充电电流强度不变的充电方法,如图1所示。控制方法简单,但由于电池的可接受电流能力是随着充电过程的进行而逐渐下降的,到充电后期,充电电流多用于电解水,产生气体,使出气过甚,因此,常选用阶段充电法。

此方法包括二阶段充电法和三阶段充电法。
1)二阶段法 采用恒电流和恒电压相结合的快速充电方法,如图2所示。首先,以恒电流充电至预定的电压值,然后,改为恒电压完成剩余的充电。一般两阶段之间的转换电压就是第二阶段的恒电压。

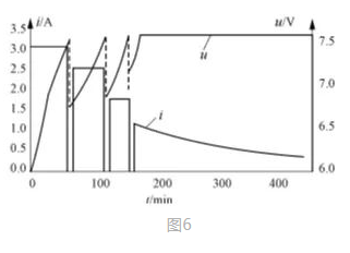
2)三阶段充电法 在充电开始和结束时采用恒电流充电,中间用恒电压充电。当电流衰减到预定值时,由第二阶段转换到第三阶段。这种方法可以将出气量减到最少,但作为一种快速充电方法使用,受到一定的限制。
充电电源的电压在全部充电时间里保持恒定的数值,随着蓄电池端电压的逐渐升高,电流逐渐减少。与恒流充电法相比,其充电过程更接近于最佳充电曲线。用恒定电压快速充电,如图3所示。由于充电初期蓄电池电动势较低,充电电流很大,随着充电的进行,电流将逐渐减少,因此,只需简易控制系统。

这种充电方法电解水很少,避免了蓄电池过充。但在充电初期电流过大,对蓄电池寿命造成很大影响,且容易使蓄电池极板弯曲,造成电池报废。鉴于这种缺点,恒压充电很少使用,只有在充电电源电压低而电流大时才用。例如,汽车运行过程中,蓄电池就是以恒压充电法充电的。
为了能够最大限度地加快蓄电池的化学反应速度,缩短蓄电池达到满充状态的时间,同时,保证蓄电池正负极板的极化现象尽量地少或轻,提高蓄电池使用效率。快速充电技术近年来得到了迅速发展。
下面介绍目前比较流行的几种快速充电方法。这些方法都是围绕着最佳充电曲线进行设计的,目的就是使其充电曲线尽可能地逼近最佳充电曲线。
这种充电法不仅遵循蓄电池固有的充电接受率,而且能够提高蓄电池充电接受率,从而打破了蓄电池指数充电接受曲线的限制,这也是蓄电池充电理论的新发展。
脉冲充电方式首先是用脉冲电流对电池充电,然后让电池停充一段时间,如此循环,如图5所示。充电脉冲使蓄电池充满电量,而间歇期使蓄电池经化学反应产生的氧气和氢气有时间重新化合而被吸收掉,使浓差极化和欧姆极化自然而然地得到消除,从而减轻了蓄电池的内压,使下一轮的恒流充电能够更加顺利地进行,使蓄电池可以吸收更多的电量。间歇脉冲使蓄电池有较充分的反应时间,减少了析气量,提高了蓄电池的充电电流接受率。

这种技术是美国的一项专利技术,它主要面对的充电对象是镍镉电池。由于它采用了新型的充电方法,解决了镍镉电池的记忆效应,因此,大大降低了蓄电池的快速充电的时间。铅酸蓄电池的充电方法和对充电状态的检测方法与镍镉电池有很大的不同,但它们之间可以相互借鉴。
如图5所示,ReflexTM充电法的一个工作周期包括正向充电脉冲,反向瞬间放电脉冲,停充维持3个阶段。

这种充电方法建立在恒流充电和脉冲充电的基础上,如图7所示。其特点是将恒流充电段改为限压变电流间歇充电段。充电前期的各段采用变电流间歇充电的方法,保证加大充电电流,获得绝大部分充电量。充电后期采用定电压充电段,获得过充电量,将电池恢复至完全充电态。通过间歇停充,使蓄电池经化学反应产生的氧气和氢气有时间重新化合而被吸收掉,使浓差极化和欧姆极化自然而然地得到消除,从而减轻了蓄电池的内压,使下一轮的恒流充电能够更加顺利地进行,使蓄电池可以吸收更多的电量。

在变电流间歇充电法的基础上又有人提出了变电压间歇充电法,如图8所示。与变电流间歇充电方法不同之处在于第一阶段的不是间歇恒流,而是间歇恒压。

比较图6和图7,可以看出:图7更加符合最佳充电的充电曲线。在每个恒电压充电阶段,由于是恒压充电,充电电流自然按照指数规律下降,符合电池电流可接受率随着充电的进行逐渐下降的特点。
综合脉冲充电法、ReflexTM快速充电法、变电流间歇充电法及变电压间歇充电法的优点,变电压变电流波浪式正负零脉冲间歇快速充电法得到发展应用。脉冲充电法充电电路的控制一般有两种:
1)脉冲电流的幅值可变,而PWM(驱动充放电开关管)信号的频率是固定的;
2)脉冲电流幅值固定不变,PWM信号的频率可调。
图8采用了一种不同于这两者的控制模式,脉冲电流幅值和PWM信号的频率均固定,PWM占空比可调,在此基础上加入间歇停充阶段,能够在较短的时间内充进更多的电量,提高蓄电池的充电接受能力。

铅酸蓄电池是目前世界上广泛使用的一种化学电源,该产品具有良好的可逆性,电压特性平稳,使用寿命长,适用范围广,原材料丰富(且可再生使用)及造价低廉等优点。主要应用在交通运输,通信,电力,铁路,矿山,港口等国民经济各个部门,是社会生产经营活动中不可缺少的产品,具有广阔的发展前景。所以,维护铅酸蓄电池延长其使用寿命,对于企业经济的发展是至关重要的。
池行千里HDGC3970蓄电池组充电机可对电池组进行大电流活化补充电,通过高频充电机特性设置恒流、恒压、涓流三阶段充电模式对电池内部极柱钝化进行有效活化修复,延长了电池的使用寿命,适用于各类蓄电池组运维维护。
联系电话
微信扫一扫